北京四大顶级平层之一的泛海世家放出了唯一一套近亿元的顶层楼王,引发了两位买家耗时26个小时的拉锯式竞夺。5月26日中午,一套位于北京市朝阳区的房产在京东拍卖落锤,原价9500万元的标的不打折开拍,在45轮竞价后溢价23%成交,成交价11662万元。这..
010-85803387 立即咨询
发布时间:2023-05-26 热度:
北京四大顶级平层之一的泛海世家放出了唯一一套近亿元的顶层楼王,引发了两位买家耗时26个小时的拉锯式竞夺。
5月26日中午,一套位于北京市朝阳区的房产在京东拍卖落锤,原价9500万元的标的不打折开拍,在45轮竞价后溢价23%成交,成交价11662万元。
这套价值上亿的豪宅即为泛海世家小区,由泛海打造,靠近东四环,属于朝阳公园板块,距离最近的地铁站14号线朝阳公园站也有2千米。
小区定位高端,分东府、西府,容积率仅1.07,共有8栋10层高的低板楼,均为300平方米以上的大户型产品,一梯一户,套均总价在6000万元左右。凭借优越的区位、较好的产品力,其也被誉为北京四大顶级平层之一,齐名的还有此前“爆红”的万柳书院、钓鱼台七号院以及霄云路8号。
此次上架法拍的更是泛海世家唯一一套760平方米左右的楼王户型。
记者查到,去年曾有中介挂出过一套泛海世家760平方米的房源,称“这套其实是由两个370平方米的户型拼到了一起,整个楼盘只有这一套,南向面宽超过48米,4个卧室朝南,只有真正的顶豪客户才能拥有”。彼时,该房源报价1.17亿元,含3个产权车位,折算单价在15万元/平方米以上。
负责泛海世家的中介杨长岭(化名)向《国际金融报》记者确认,此次拍卖的标的就是去年开发商想要出售的那套,整个小区只有这一套760平方米的户型,在东府1号楼10层(顶楼),“位置不错,还是一手房”。
去年市场报价1.17亿元,但本次法拍,机构给出的评估价格还是“缩水”了不少。
公告显示,北京市朝阳区华章东路2号院(泛海世家东府)1号楼10层二单元1001的产证建面高达767.08平方米,评估价、起拍价均为9500万元,折算单价仅12.38万元/平方米。
在部分二手房交易平台上,泛海世家东府3月参考均价为15.61万元/平方米,西府为16.74万元/平方米,同时目前西府一套在售的464.51平方米的5室2厅挂牌价为8200万元,折算单价甚至达到17.65万元/平方米。
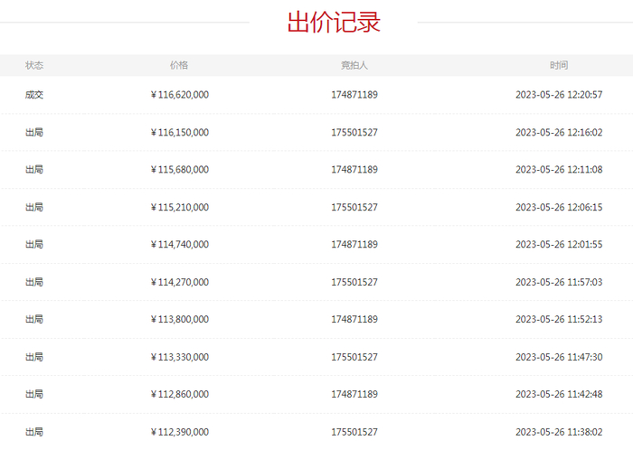
市区少有的大平层资源以及明显倒挂的价格,让这套标的吸引了2位买家青睐,各出资1900万元的保证金,参与了竞拍。
这是一场耗时颇久的“拉锯战”。
25日10时-26日10时为原定拍卖时间,“174871189”号竞买人在25日晚间率先出手报出底价9500万元,第二位“175501527”竞买人显然很坐得住,直至26日9时40分才开始跟报9594万元。
对于这一巨额标的,双方谨慎又谨慎,随后多以47万元的最低加价幅度进行跟报,在超过今日10时后,也基本卡着5分钟延时周期极限跟进,每当市场以为即将落锤之际,新一组的价格才会弹出,这显然不仅是财力的较量,也是心理和技巧的比拼。
经过二十多轮的交锋,直至12时25分,这场“拉锯战”方才告终,“174871189”号竞买人成功以11662万元的价格将这套楼王收入囊中,溢价22.76%,折算单价15.2万元/平方米,基本与去年开发商出售时的挂牌价一致。
根据网络竞价成交确认书,最终的竞得人为北京麒馨科技有限公司,就在法拍开始前十几天刚刚成立。
天眼查显示,北京麒馨科技有限公司成立于2023年5月9日,是一家以从事科技推广和应用服务业为主的企业,注册资本100万元,法人张静持有公司90%的股权。
相比买家,卖家身份更为大众熟知——小区的开发商泛海建设。
公告披露,拍卖余款缴纳账户为“(2022)京0105执26282号”,其指向了一起中国建筑一局(集团)有限公司作为原告、泛海建设旗下的北京泛海东风置业有限公司(下称“泛海东风公司”)作为被告的建设工程施工合同纠纷。此前,北京市朝阳区人民法院判决,泛海东风公司需要向原告支付工程款8102.31万元,但由于泛海东风公司一直未履行,才使得这套楼王沦落法拍。
据悉,泛海建设是2002年由泛海控股成立的,彼时,其大举发展房地产业务,接连拿下北京泛海国际项目1号地块和上海董家渡项目。但十几年后泛海控股陷入流动性危机,其便将泛海建设摆上了货架,2019年出售予融创,而后上海董家渡地块也被开发为融创外滩壹号院。去年整体行业下行,融创也陷入资金困局,去年底其再次将泛海建设90%的股权转让给中信信托、华融。
这并非泛海东风公司名下的房源首次被拍卖。
去年底,京东拍卖上已经拍出了一套北京市朝阳区华章东路2号院5号楼1层三单元101房源,面积455.36平方米,评估价、起拍价均为4991.39万元,一位自然人以底价拍下。该标的案号同样为“(2022)京0105执26282号”。
记者 左宇
编辑 孙婉秋
企行财税主营业务: 公司注册、公司变更、代理记账、涉税处理、公司转让、公司注销、商标注册、公司户车牌转让,投资/资产/基金类公司转让, 免费咨询电话:010-85803387 。工商老师私人手机号:17701222182

问:调整后的住房交易环节契税优惠如何享受? 答:(一)政策内容: 对个人购买家庭唯一住房(家庭成员范围包括购房人、配偶以及未成年子女...

我公司在外地设立了一家分支机构,在判断小型微利企业条件时,从业人数、资产总额指标是否包括分支机构的相应部分? 答:现行企业所得税实行法...

个体工商户、个人独资企业、合伙企业可以享受小型微利企业普惠性所得税减免政策吗?] 答:根据《企业所得税法》第一条规定,“在中华人民共和...

本年度调整为按季申报后,次年度申报期限如何执行?按月度预缴企业所得税的企业,在当年度4月份预缴申报时,符合小型微利企业条件,按规定调整为...