北京注册公司流程及费用我都整理好啦!代办个体公司营业执照办理,提供北京公司注册地址,正规公司注册代办代理记账公司,公司变更,股权变更,公司注销转让一站式优质服务。
您当前位置:首页 > 新闻中心 > 行业资讯
小米在北京成立机器人技术公司,注册资本5000万
小米在北京成立机器人技术公司,注册资本5000万

鞭牛士 4月23日消息,天眼查App显示,4月21日,北京小米机器人技术有限公司成立,法定代表人为曾学忠,注册资本5000万人民币,经营范围...

小米在北京成立机器人技术公司 注册资本5000万
小米在北京成立机器人技术公司 注册资本5000万

天眼查App显示,4月21日,北京小米机器人技术有限公司成立,法定代表人为曾学忠,注册资本5000万人民币,经营范围包括智能机器人的研发;智...

50亿!央市区三级共同助力 北京商业航天产业基地蓄势待发
50亿!央市区三级共同助力 北京商业航天产业基地蓄势待发

4月23日上午,由北京市经济和信息化局、北京市大兴区人民政府共同主办的北京商业航天产业创新发展大会在大兴区营商服务中心召开。北京青年报记者了...

北京局集团公司开行北京至九寨沟特色主题旅游专列
北京局集团公司开行北京至九寨沟特色主题旅游专列

转自:人民铁道网-人民铁道报本报北京4月22日电(李蓉 张雍)4月18日22时50分,北京至九寨沟Y451次旅游专列满载402名旅客从北京丰...

家居丨北京小米机器人技术公司成立 注册资本5000万元
家居丨北京小米机器人技术公司成立 注册资本5000万元

财经网讯 4月23日消息,北京小米机器人技术有限公司近日成立,法定代表人为曾学忠,注册资本5000万元人民币。企查查显示,该公司经营范围包含...

【2023招标】北京市亿信公司办公楼物业服务招标公告
【2023招标】北京市亿信公司办公楼物业服务招标公告

【2023招标】北京市亿信公司办公楼物业服务招标公告(招标编号: JXJY—2023—110)项目所在地区:北京市一、招标条件本亿信公司办公...

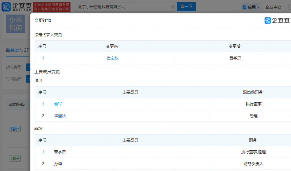
雷军退出北京小米智能科技公司
雷军退出北京小米智能科技公司

企查查APP显示,近日,北京小米智能科技有限公司发生工商变更,雷军不再担任公司执行董事,崔宝秋卸任经理、法定代表人,新增曾学忠为法定代表人、...

北京牌照租赁公司哪家好?靠谱的
北京牌照租赁公司哪家好?靠谱的

在现代社会,人们的生活越来越快节奏化,出行方式也日益多样化。比如有些人需要在北京市内短期停留,但暂时无法购车,又不想为短时间内的购车费用买单...

官方微信

集团总部010-85803387

北京市海淀区创业公社(中关村国际创客中心)

海淀分公司17813126125

北京市海淀区恒欣商务大厦1层122室

通州分公司17701222182

北京市通州区合生世界村H区1号楼210室

Baidu
map